Slide background
Store Certifico


Tutti i Prodotti presenti sono elaborati

su Norme Tecniche & Standards riconosciuti.


Vedi il piano Certifico Fidelity per la promo riservata
Slide background
Store Promo -20% fino al 30 Giugno

Tutti i Software, Abbonamenti e Prodotti presenti nello Store

sono elaborati direttamente o selezionati su Standards riconosciuti.

Ticket Promo "CERTIFICO20"
Slide background
Store Certifico: Promo -20% fino al 30 Giugno

Tutti i Software, Prodotti Tecnici e Documenti Tecnici presenti nello Store
sono elaborati direttamente o selezionati dalla nostra redazione.

Vedi la nostra Offerta

Slide background
Slide background
Store Promo -20% Giugno

- Se sei un nostro Abbonato o Cliente passa all'Abbonamento Full con Promo riservata: Richiedi il Codice


- Se Vuoi Abbonarti o acquistare Prodotti, CEM4: Promo -20% su tutto lo Store Codice "CERTIFICO20"


Vedi i dettagli Promo fino al 30 Giugno 2024
Slide background
Certifico 2000/2024


Tutti i Software, Prodotti e Documenti Tecnici presenti sono elaborati direttamente

o selezionati su Norme Tecniche & Standards riconosciuti.


Promo Store fino al 30 Giugno -20%
Slide background
Certifico 2000/2023: Informazione Utile


/ Documenti disponibili: 43.904 *

/ Totale documenti scaricati: 31.572.435 *

Slide background
CEM4: certifico machinery directive

Il software per Direttiva macchine

da Marzo 2000

Promo Anniversary 21°
Slide background
Slide background
Slide background
Store: Promo -25% fino al 31 Gennaio


Tutti i Software, Prodotti e Documenti Tecnici presenti nello Store

sono elaborati direttamente o selezionati su Standards riconosciuti.


Vedi la nostra Offerta
Slide background
Abbonamenti: Promo -20% fino al 31 Dicembre

Tutti i Software, Prodotti e Documenti Tecnici presenti nello Store

sono elaborati direttamente o selezionati su Standards riconosciuti.

Vedi la nostra Offerta
Slide background
Store Certifico: Promo -25% fino all'08 Dicembre


Tutti i Software, Prodotti e Documenti Tecnici presenti nello Store

sono elaborati direttamente o selezionati su Standard riconosciuti.

Vedi la nostra Offerta
Slide background
Store Certifico: Promo -25% fino al 30 Settembre

Tutti i Software, Prodotti e Documenti Tecnici presenti nello Store
sono elaborati direttamente o selezionati dalla nostra redazione.

Vedi la nostra Offerta

Slide background
Store Certifico: Promo -25% fino al 31 Luglio

Tutti i Software, Prodotti e Documenti Tecnici presenti nello Store
sono elaborati direttamente o selezionati dalla nostra redazione.

Vedi la nostra Offerta
Slide background
CEM4: Promo -20% fino al 31 Luglio

CEM4 Promo -20% Luglio 2017


Inserisci il ticket Promo CEM4_20 al passo 3 della procedura di acquisto

Vedi la nostra Offerta
Slide background
CEM4: Promo -20% fino al 31 Ottobre

CEM4 Versioni "COMPLETE" e "SUITE"

sono pacchetti abbinati con altri Prodotti indispensabili per comprendere

e gestire tutti gli obblighi della Direttiva macchine 2006/42/CE

Vedi la nostra Offerta

Slide background
Slide background

Guida Tecnica Barriere protezione fotoelettriche - Applicazioni

Barriere di protezione CEI EN IEC 62046 2021
€ 50,00 + IVA    

+

Specifiche

3.0
2021
pdf
Documento Tecnico
45
DTCE01

Contattaci 075 5997363  info@certifico.com
Condizioni di acquisto
Promo Certifico Fidelity

  • Guida Tecnica Barriere protezione fotoelettriche - Applicazioni

    Documento di sintesi sull’applicazione della norma tecnica CEI EN IEC 62046:2021 “Sicurezza del macchinario - Applicazione dei dispositivi di protezione per rilevare la presenza di persone”.

    La CEI EN IEC 62046:2021 è la prima edizione della norma che annulla e sostituisce la Norma CEI CLC/TS 62046:2011-04 (rimasta applicabile fino al 02.05.2021) e di cui ne costituisce una revisione tecnica.

    La norma CEI EN IEC 62046:2021 include le seguenti modifiche tecniche significative rispetto la CEI CLC/TS 62046:2011-04:

    a) sono stati aggiunti Allegati relativi ai sistemi di neutralizzazione (muting) e di visione,
    b) sono stati aggiornati i requisiti di neutralizzazione (muting),
    c) sono stati aggiornati i requisiti di blanking.

    Gli esempi forniti dalla norma CEI EN IEC 62046:2021 non sono destinati a costituire le uniche soluzioni per un’applicazione data né a limitare l’innovazione o il progresso tecnologico. Gli esempi sono forniti solo come soluzioni rappresentative per illustrare alcuni concetti di applicazione di apparecchi di protezione e sono stati semplificati per chiarezza, quindi sono incompleti. Le figure sono illustrative e non in scala.

    CEI EN IEC 62046:2021 “Sicurezza del macchinario - Applicazione dei dispositivi di protezione per rilevare la presenza di persone”

    Data di pubblicazione: Marzo 2021

    La norma è la traduzione in italiano della CEI EN IEC 62046:2019.

    Inizio validità: Febbraio 2019

    [...]

    0.1 Relazione tra la CEI EN IEC 62046:2021 e le altre norme

    Figura 0   Diagramma Relazione tra la CEI EN IEC 620462021 e le altre norme

    Figura 0 - Diagramma Relazione tra la CEI EN IEC 62046:2021 e le altre norme

    1. Caratteristiche degli apparecchi di protezione

    1.1 Tipi di ESPE

    La norma considera ESPE che utilizzano le seguenti tecnologie di rilevamento:

    - dispositivi di protezione fotoelettrici attivi (AOPD) costituiti da cortine di luce e dispositivi con fasci luminosi singoli o multipli specificati nella I EC 61496-2;
    - dispositivi di protezione fotoelettrici attivi rispondenti alla riflessione diffusa (AOPDDR) specificati nella IEC 61496-3;
    - dispositivi di protezione basati sulla visione (VBPD) che utilizzano dispositivi di rilevamento di immagini specificati nella IEC TS 61496-4-2 o IEC TS 61496-4-3.

    1.2 AOPD

    Un AOPD utilizza il principio dell’interruzione di uno o più fasci luminosi tra l’elemento emittente e quello ricevente. Quando un oggetto opaco (per esempio una persona o parte del suo corpo) interrompe un fascio di luce, il ricevitore non riceve più la luce emessa e viene generato un segnale di uscita. Questo principio è illustrato in Figura 1.

    Figura 1   Principio di rilevamento di AOPD a fascio passante

    Figura 1 - Principio di rilevamento di AOPD a fascio passante

    [...]

    4.2 Muting per consentire l’accesso dei materiali

    Il muting può essere utilizzato per consentire l’accesso dei materiali solo quando la sicurezza è mantenuta con altri mezzi, per esempio quando la presenza di un bancale carico su un trasportatore impedisce l’accesso delle persone all’area pericolosa. Devono essere previste le misure seguenti laddove applicabile:

    - scelta, posizionamento e configurazione dei sensori di muting in modo da distinguere una persona dal materiale al quale è consentito il passaggio attraverso la zona di rilevamento;
    - scelta e posizionamento dei sensori di muting in modo da rilevare il carico trasportato ma non il bancale o l’unità di trasporto, al fine di impedire l’accesso alla zona da parte di persone, arrampicandosi sul bancale o sull’unità di trasporto;
    - rilevamento che le merci da trasportare sono in posizione tale da impedire l’accesso all’area pericolosa;
    - installazione dei sensori di muting sufficientemente vicini all’ESPE, in modo che non sia possibile che una persona sfugga al rilevamento entrando nell’area pericolosa precedendo o seguendo da vicino il bancale o il sistema di trasporto, quando la funzione di muting è attiva;
    - posizionamento dell’ESPE o dei sensori di muting, in modo da evitare i rischi derivanti dalla possibilità di intrappolamento di parti del corpo, per esempio tra l’ESPE o i sensori di muting (o gli elementi fissi dell’installazione) e un’unità di trasporto o il prodotto. (Esempio di una soluzione: porte flessibili, a battenti oscillanti di 500 mm controllate da sensori di posizione);
    - progettazione dell’accesso all’area pericolosa, in modo che non sia possibile che una persona sfugga al rilevamento passando attraverso lo spazio tra il carico trasportato e gli elementi fissi dell’installazione, quando la funzione di muting è attiva e il prodotto o l’unità di trasporto è in movimento o ferma nell’area di muting (dovrebbero essere considerati anche i pericoli di intrappolamento e di schiacciamento); limitazione della funzione di muting a un tempo sufficiente al solo passaggio del materiale attraverso la zona di rilevamento. Al superamento di tale intervallo, la funzione di muting deve essere annullata e ogni movimento pericoloso fermato.

    [...]

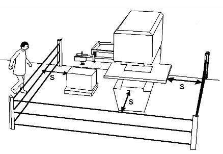
    8. Barriera perimetrale

    Figura 14   Utilizzo di un sensore di attraversamento

    Figura 14 – Utilizzo di un sensore di attraversamento

    L’esempio mostrato in Figura 14 utilizza un dispositivo a più fasci luminosi come sensore di attraversamento. È prescritto un interblocco al riavvio, posto all’esterno dell’area pericolosa, ripristinato da un’azione umana deliberata. Possono essere necessarie ulteriori misure quando non è possibile ubicare l’attuatore di ripristino in una posizione tale da rendere visibile l’intera area pericolosa.

    Il calcolo della distanza minima considera sia la massima estensione del movimento pericoloso della macchina sia la prestazione di arresto delle varie parti della macchina.

    12. Esempi di configurazione dei sensori fotoelettrici di muting quando sono utilizzati per consentire l’accesso dei materiali

    I seguenti esempi si basano sui seguenti presupposti:

    - i sensori fotoelettrici di muting sono utilizzati per avviare e concludere la muting;
    - la zona di rilevamento dei sensori di muting è compresa entro 30º rispetto all’orizzontale;
    - la zona di rilevamento dei sensori di muting è ad un’altezza idonea a rilevare la o le gambe di una persona.

    Gli esempi forniti hanno lo scopo di illustrare i principi delle configurazioni di muting. Altre Norme (ad es. ISO 13854) e norme per macchine specifiche (Norme di tipo C) possono contenere disposizioni specifiche per applicazioni particolari.

    NOTA 1 Le figure nel presente Allegato sono illustrative e non in scala.

    Nel presente Allegato sono considerate le configurazioni seguenti in termini di numero, tipo, disposizione e comando dei sensori.

    Due fasci:

    Configurazione a T (vedi Figura 23), con il controllo della tempistica dei sensori (entrata/uscita).
    Configurazione a L (vedi Figura 24), con il controllo della tempistica dei sensori (solo uscita). 

    Quattro fasci:

    Fasci paralleli (vedi Figura 25), con il controllo della tempistica dei sensori (entrata/uscita).
    Fasci paralleli (vedi Figura 25), con il controllo della sequenza (entrata/uscita).

    NOTA 2 I principi di tali esempi possono applicarsi ad altre configurazioni.

    Figura 23   Configurazione a T con il controllo della tempistica

    Figura 23 - Configurazione a T con il controllo della tempistica

    Figura 24   Configurazione a L con il controllo della tempistica

    Figura 24 - Configurazione a L con il controllo della tempistica

    Figura 25   Fasci paralleli con il controllo della tempistica o della sequenza

    Figura 25 - Fasci paralleli con il controllo della tempistica o della sequenza

    [...]

    13.10 Altezza del punto di intersezione dei fasci dei sensori di muting

    Il punto di intersezione dei due fasci dei sensori di muting dovrebbe essere posto allo stesso livello, o più in alto, del fascio più basso dell’ESPE, per evitare di manipolare il sistema con la punta del piede. Vedi Figura 48 e Figura 49.

    Figura 48   Altezza del punto di intersezione

    Figura 48 - Altezza del punto di intersezione

    [...]

    Elaborato Certifico Srl IT - Rev. 3.0 2021

    Autore: Certifico Srl
    Formato: .pdf
    Copiabile/stampabile: SI

    Matrice Revisioni:

    Rev. Data Oggetto Autore
    3.0 23.07.2021 Aggiornamento normativo CEI EN IEC 62046:2021 Certifico Srl
    2.0 02.09.2014 Aggiornamento normativo CEI CLC/TS 62046:2011-04 Certifico Srl
    1.0 13.01.2013 -- Certifico Srl

     

    Documento compreso nell'Abbonamento Tema Marcatura CE

    Acquistando il servizio di Abbonamento si ha la possibilità di scaricare tutti documenti presenti nel sito del Tema Marcatura CE segnalati come riservati "Abbonati".

    Il servizio di abbonamento ha validità di 1 anno.

    Tutti i Documenti Abbonamento Marcatura CE

    Vedi tutti i Documenti disponibili del tema: Documenti Abbonati Marcatura CE

  • Guida Tecnica Barriere protezione fotoelettriche - Applicazioni

    Indice

    0. Premessa
    1. Caratteristiche degli apparecchi di protezione
    1.1 Tipi di ESPE
    1.2 AOPD
    1.3 AOPDDR
    1.4 VBPD
    1.4.1 VBPDST
    1.4.2 VBPDPP
    2. Tappeti e pavimenti sensibili alla pressione
    3. Classificazione degli apparecchi di protezione
    3.1 Classificazione di ESPE
    3.2 Classificazione di tappeti sensibili alla pressione
    4. Muting
    4.1 Muting per consentire l’accesso alle persone
    4.2 Muting per consentire l’accesso dei materiali
    5. Blanking
    6. Apparecchio di protezione utilizzato come sensore di attraversamento
    7. Uso dell’apparecchio di protezione come sensore combinato di attraversamento e di presenza
    7.1 Apparecchio di protezione utilizzato come sensore combinato di attraversamento e di presenza
    7.2 Apparecchio di protezione utilizzato come sensore combinato di attraversamento e presenza
    7.3 AOPD orizzontale
    7.4 AOPD Verticale
    7.5 Aumento della distanza minima di separazione
    8. Barriera perimetrale
    9. Ulteriori raccomandazioni per l’applicazione di AOPDDR
    9.1 Esempio dell’utilizzo di un AOPDDR su un macchinario fisso
    9.2 Esempio dell’utilizzo di un AOPDDR su un veicolo a guida automatica (AGV)
    10. AOPDDR utilizzato per il rilevamento del corpo o di parti di esso con un avvicinamento ortogonale
    10.1 Rilevamento del corpo intero
    10.2 Rilevamento di parti del corpo
    10.3 Esempi dell’utilizzo di un AOPDDR come sensore di attraversamento per il rilevamento di un corpo intero
    10.4 Esempi di utilizzo di un AOPDDR come sensore di attraversamento con rilevamento di parti del corpo
    11. Esempio di applicazione di un sistema di protezione basato sulla visione (VBPDST)
    12. Esempi di configurazione dei sensori fotoelettrici di muting quando sono utilizzati per consentire l’accesso dei materiali
    13. Quattro fasci
    13.1 Quattro fasci – Posizionamento dei sensori
    13.2 Quattro fasci – controllo della tempistica
    13.3 Quattro fasci – controllo della sequenza
    13.4 Quattro fasci con porte a battente supplementari
    13.5 Metodi per evitare la manipolazione della funzione di muting
    13.6 Connessione dei sensori a un dispositivo di controllo del muting a due ingressi
    13.7 Due sensori – posizionamento dei sensori
    13.8 Due sensori – Controllo della tempistica L
    13.9 Due fasci sensori di muting combinati con porte a battente
    13.10 Altezza del punto di intersezione dei fasci dei sensori di muting
    14. Muting a due fasci paralleli - solo uscita
    15. Protezione dei sistemi di trasporto operanti in modo coordinato

    Abbonamento Marcatura CE

    Acquistando il servizio di Abbonamento si ha la possibilità di scaricare tutti documenti presenti nel sito del Tema Marcatura CE segnalati come riservati "Abbonati".

    ✔ Normativa selezionata
    ✔ Documenti specifici
    ✔ Demo prodotti
    ✔ Documenti selezionati
    ✔ Documenti riservati abbonati
    ✔ Documenti a pagamento

    Il servizio di abbonamento ha validità di 1 anno.

    Visualizza tutti i Documenti dell'Abbonamento Tematico Marcatura CE