EN 1749:2020 Classificazione di apparecchi a gas
| ID 17523 | | Visite: 8509 | Documenti impianti riservati | Permalink: https://www.certifico.com/id/17523 |
EN 1749:2020 Classificazione di apparecchi a gas
ID 17523 | 08.09.2022 / Documento di approfondimento allegato
Documento di approfondimento sulla classificazione di apparecchi a gas secondo il metodo di adduzione dell’aria comburente e di evacuazione dei prodotti della combustione (tipi) in accordo alla norma tecnica EN 1749:2020.
Data entrata in vigore: 08 Gennaio 20202 La norma EN 1749:2020 è stata recepita in Italia con la UNI EN 1749:2020 entrata in vigore il 27 Febbraio 2020.
La classificazione trattata dalla norma riguarda gli apparecchi a gas che sono destinati a essere installati all'interno di edifici e/o all’esterno di un edificio. La norma classifica gli apparecchi come tipo A, B o C secondo il principio base di evacuazione dei prodotti della combustione e di adduzione di aria comburente.
EN 1749:2020 | CEN/TR 1749:2014
La norma EN 1749:2020 sostituisce la CEN/TR 1749:2014.
Di seguito le principali novità rispetto alla precedente edizione:
- modifiche editoriali, una formulazione rivista e una struttura rivista rispetto alla versione TR (CEN/TR 1749:2014);
- alcune voci tecniche generalmente descritte nella prefazione dell'ex TR sono ora incluse nel campo di applicazione o in altri capitoli della norma (1; 4.1; 4.4);
- è stata inserito un capitolo sui riferimenti normativi (capitolo 2);
- è stata inserito un capitolo sui termini e le definizioni (capitolo 3);
- esempi di classificazioni riformulate:
- - tipo B (4.3);
- - tipo C6 (4.4);
- - tipo C (11) (4.4);
- - tipo C (13) (4.4);
- - Tipo C (14) (4.4).
- è stata aggiunta una legenda per le immagini e ne sono state modificate alcune (Allegato A);
- l'allegato B riporta le regole di classificazione per un'applicazione più ampia in Germania. A causa di questa modifica, l'ex allegato D è stato cancellato;
- l'allegato C sostituisce il precedente allegato E;
- il precedente allegato C è stato soppresso.
Il presente documento è una traduzione non ufficiale in lingua italiana di parti della norma EN 1749:2020 - Traduzione non ufficiale IT.
[...]
Regole generali di classificazione
Lo schema generale per applicazioni di tipo A, di tipo B e di tipo C è riportato nei paragrafi successivi. Una serie di numeri in pedice viene utilizzata in aggiunta a queste lettere per identificare variazioni specifiche all'interno dei principi di base di classificazione.
Quando questo primo numero di pedice supera "9" viene indicato tra parentesi per chiarire che si tratta di un numero di pedice singolo e non di due numeri di pedice.
L'ultimo numero di pedice di ogni specifica variazione indica l'assenza o la presenza di un ventilatore integrato per l'alimentazione dell'aria comburente e/o per l'evacuazione dei prodotti della combustione.
Se l'ultimo pedice è “1”, nessun ventilatore integrato per l'alimentazione dell'aria comburente e/o per l'evacuazione dei prodotti della combustione è presente. Dove è presente un ventilatore sono presenti i numeri 2, 3 o 4. Questi tre numeri vengono utilizzati esclusivamente per identificare la posizione di questo ventilatore.
Legenda immagini /simboli
Classificazione Tipo A
Definizione Tipo A: apparecchio non previsto per il collegamento a canna fumaria o a dispositivo di scarico dei prodotti della combustione all’esterno del locale in cui è installato l’apparecchio.
Tipo A1: il ventilatore NON è presente
Tipo A2: il ventilatore è presente a valle della camera di combustione/scambiatore di calore
Tipo A3: il ventilatore è presente a monte della camera di combustione/scambiatore di calore
Figura 1 - Applicazioni Tipo A
[...]
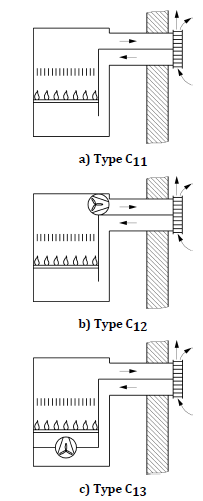
Classificazione Tipo C
Definizione Tipo C:un apparecchio il cui circuito di combustione (prelievo aria comburente, camera di combustione, scambiatore di calore ed evacuazione dei prodotti della combustione) è a tenuta rispetto al locale in cui è installato.
Tipo C1: un apparecchio di tipo C progettato per il collegamento tramite i propri condotti al terminale orizzontale, che contemporaneamente immette aria fresca al bruciatore e scarica i prodotti della combustione all'esterno attraverso orifizi che sono concentrici o abbastanza vicini da risultare in condizioni di vento simili.
Tipo C11: un apparecchio a tiraggio naturale di tipo C1.
Tipo C12: un apparecchio di tipo C1 che incorpora un ventilatore a valle della camera di combustione/scambiatore di calore.
Tipo C13: un apparecchio di tipo C1 che incorpora un ventilatore a monte della camera di combustione/ scambiatore di calore.
Figura 7 - Applicazioni Tipo C1
[...]
Schema di classificazione supplementare per gli apparecchi di tipo A e di tipo B installati con particolari dispositivi di sicurezza
Lo schema di classificazione supplementare per gli apparecchi di tipo A e di tipo B è stato aggiunto per chiarire come identificazione tali apparecchi quando sono dotati di dispositivi di sicurezza diversi. Le lettere in pedice “AS” (atmosphere safety) si riferiscono a un dispositivo di controllo dell'atmosfera e le lettere in pedice "BS" (blocked safety) si riferiscono a un dispositivo di controllo della corretta evacuazione dei prodotti della combustione atto ad intervenire in presenza di ostruzione parziale o totale del camino.
Tipo AAS: un apparecchio di tipo A dotato di un dispositivo di controllo dell'atmosfera, ad es. tipo A1AS.
Tipo BAS: un apparecchio di tipo B dotato di un dispositivo di controllo dell'atmosfera, ad es. tipo B11AS.
Tipo BBS: un apparecchio di tipo B dotato di un dispositivo di controllo della corretta evacuazione dei prodotti della combustione, ad es. tipo B11BS.
[...] segue in allegato
Fonti
EN 1749:2020
Certifico Srl - IT | Rev. 0.0 2022
©Copia autorizzata Abbonati
Matrice Revisioni:
| Rev. | Data | Oggetto | Autore |
| 0.0 | 08.09.2022 | --- | Certifico Srl |
Collegati
Vademecum Impianti a gas uso domestico N. 1 | UNI 7129-1:2015
Vademecum Impianti a gas uso domestico N. 2 | UNI 7129-2:2015
Vademecum Impianti a gas uso domestico N. 3 | UNI 7129-3:2015
Vademecum Impianti a gas uso domestico N. 4 | UNI 7129-4:2015
Vademecum Impianti a gas uso domestico N. 5 | UNI 7129-5:2015
UNI 7129: Testo Unico per gli impianti a gas
Legge 6 dicembre 1971 n. 1083
Decreto MISE 30 settembre 2015
| Descrizione | Livello | Dimensione | Downloads | |
|---|---|---|---|---|
| EN 1749 2020 Classificazione di apparecchi a gas Rev. 00 2022.pdf Certifico Srl - Rev. 0.0 2022 |
746 kB | 155 |






















