Vibrazioni meccaniche macchinari - Misurazioni / Valutazioni UNI ISO 20816-3:2023
| ID 22996 | | Visite: 3673 | Documenti Riservati Direttiva macchine | Permalink: https://www.certifico.com/id/22996 |
Vibrazioni meccaniche di macchinari - Misurazioni / Valutazioni in accordo UNI ISO 20816-3:2023
ID 22996 | 24.11.2024 / Documento completo allegato
Il Documento è elaborato in accordo con le norme tecniche UNI ISO 20816-1 e UNI ISO 20816-3 e riporta aspetti tecnici e considerazioni per la misurazione di vibrazione di macchinari industriali.
Il documento può essere particolarmente utile e di supporto nel caso in cui si debbano misurare e valutare vibrazioni meccaniche di macchinari industriali (rientranti nel campo di applicazione), per le quali non è presente una norma tecnica verticale che ne dia apposite prescrizioni.
Le vibrazioni meccaniche dei macchinari, se non monitorate e controllate, possono generare rischi elevati per gli operatori per spostamenti e cedimenti della macchina, in taluni casi di proiezione di parti della stessa.
Non infrequenti sono i casi di gravi incidenti per la proiezione di parti di macchine, ricondotti anche ad eccessive / non controllate vibrazioni meccaniche.
La norma UNI ISO 20816-3 fornisce criteri per la valutazione delle vibrazioni dei macchinari in base alle misurazioni effettuate su parti non rotanti, come cuscinetti, supporti dei cuscinetti o alloggiamenti.
La norma può essere intesa come linea guida generale per determinare le condizioni generali della macchina in base all'entità delle vibrazioni e alle variazioni dei livelli di vibrazione nel tempo. Sebbene questi non siano sempre gli unici fattori da considerare quando si identificano i guasti, lo standard è molto utile per eseguire analisi di base delle vibrazioni.
La norma UNI ISO 20816-3 si applica specificamente a gruppi di macchinari che hanno una potenza superiore a 15 kW e velocità operative comprese tra 120 e 15.000 giri/min.
Questa categoria include motori industriali comuni, pompe, generatori, compressori rotativi, soffianti e ventole e diversi tipi di turbine. Naturalmente, alcune macchine hanno requisiti di potenza o velocità al di fuori dell'ambito della norma; tuttavia, la maggior parte delle macchine che probabilmente incontrerai può essere valutata in base a queste linee guida.
Rilevando alcune misurazioni in termini di velocità di vibrazione e utilizzando il grafico di cui sotto, è possibile utilizzare i dati di vibrazione indipendentemente dal livello di competenza.
Il riferimento alla UNI ISO 20816-3 può aiutare ad identificare rapidamente problemi alle macchine (nel campo di applicazione della norma) e conseguentemente può essere utile ad eseguire una manutenzione mirata prima che si verifichino danni più gravi.
Le norme della serie UNI ISO 2081-X sono riportate a questo link.
_______
Vibrazioni meccaniche - Misurazione e valutazione della vibrazione della macchina - Parte 3: Macchinari industriali con classificazione di potenza superiore a 15 kW e operante a velocità comprese tra i 120 r/min e i 30 000 r/min
Data disponibilità: 06 luglio 2023
La norma specifica i requisiti generali per valutare la vibrazione di vari tipi di macchine industriali accoppiate con potenza superiore a 15 kW e operanti a velocità comprese tra i 120 r/min e i 30 000 r/min quando le misurazioni sono effettuate in opera.
Sono fornite linee guida per applicare i criteri di valutazione per misurazioni effettuate su parti non rotanti e rotanti in normali condizioni di utilizzo.
_______
Scopo
La UNI ISO 20816-3:2023 specifica i requisiti generali per la valutazione delle vibrazioni di vari tipi di macchine industriali accoppiate con una potenza superiore a 15 kW e velocità operative comprese tra 120 giri/min e 30.000 giri/min quando le misurazioni vengono effettuate in opera.
Sono fornite linee guida per l'applicazione dei criteri di valutazione per le misurazioni effettuate su parti rotanti e non rotanti in normali condizioni operative. Le linee guida sono presentate in termini sia di valori di vibrazione a regime costante sia di variazioni dell'entità della vibrazione, che possono verificarsi in questi valori costanti.
I valori numerici presentati sono intesi come linee guida basate sull'esperienza mondiale delle macchine, ma devono essere applicati tenendo in debita considerazione le caratteristiche specifiche della macchina che possono rendere questi valori inappropriati.
In generale, le condizioni di una macchina vengono valutate considerando sia la vibrazione dell'albero che la vibrazione strutturale associata, nonché componenti di frequenza specifiche, che non sempre sono correlate ai valori di severità della banda larga presentati.
I tipi di macchine trattati da questo documento includono:
a) turbine a vapore e generatori con potenze inferiori o uguali a 40 MW (vedere Nota 1 e Nota 2);
b) turbine a vapore e generatori con potenza superiore a 40 MW che normalmente funzionano a velocità diverse da 1.500 giri/min, 1.800 giri/min, 3.000 giri/min o 3.600 giri/min (sebbene i generatori raramente rientrino in questa categoria) (vedere Nota 1);
c) compressori rotativi;
d) turbine a gas industriali con potenza inferiore o uguale a 3 MW (vedere Nota 2);
e) turbofan;
f) motori elettrici di qualsiasi tipo, se l'accoppiamento è flessibile. Quando un motore è rigidamente accoppiato a un tipo di macchina coperto da qualsiasi altra parte della ISO 20816, il motore può essere valutato rispetto a quell'altra parte o alla ISO 20816-3;
g) rulli e laminatoi;
h) trasportatori;
i) giunti a velocità variabile; e
j) soffianti o ventole (vedere Nota 3).
NOTA 1 Le turbine a vapore terrestri, le turbine a gas e i generatori di capacità superiore a 40 MW, che funzionano a 1 500 giri/min, 1 800 giri/min, 3 000 giri/min o 3 600 giri/min sono coperti dai requisiti della norma ISO 20816-2. I generatori negli impianti idroelettrici sono coperti dalla norma ISO 20816-5.
NOTA 2 Le turbine a gas di potenza superiore a 3 MW sono coperte dalla norma ISO 20816-4.
NOTA 3 I criteri di vibrazione presentati in questo documento sono generalmente applicabili solo a ventilatori con potenza nominale superiore a 300 kW o ventilatori che non sono supportati in modo flessibile. Quando e se le circostanze lo consentiranno, saranno preparate raccomandazioni per altri tipi di ventilatori, inclusi quelli con costruzione in lamiera leggera. Finché queste raccomandazioni non saranno disponibili, le classificazioni possono essere concordate tra il produttore e il cliente; utilizzando i risultati di precedenti esperienze operative (vedere anche ISO 14694).
I macchinari che includono uno stadio riduttore possono rientrare nell'ambito di questo documento. Per eseguire test di accettazione di riduttori, fare riferimento a ISO 20816-9.
I seguenti tipi di macchine industriali non sono coperti da questo documento:
k) turbine a gas terrestri, turbine a vapore e generatori con potenza in uscita superiore a 40 MW e velocità di 1 500 giri/min, 1 800 giri/min, 3 000 giri/min o 3 600 giri/min (vedere ISO 20816-2); l) gruppi di turbine a gas con potenza in uscita superiore a 3 MW (vedere ISO 20816-4);
m) gruppi di macchine in impianti di produzione e pompaggio di energia idraulica (vedere ISO 20816-5);
n) macchine alternative e macchine accoppiate solidamente a macchine alternative (vedere ISO 10816-6);
o) pompe rotodinamiche e qualsiasi motore elettrico integrato o accoppiato solidamente in cui la girante è montata direttamente sull'albero motore o è rigidamente fissata ad esso (vedere ISO 10816-7);
p) sistemi di compressori alternativi (vedere ISO 20816-8);
q) compressori rotativi a spostamento positivo (ad esempio compressori a vite);
r) motopompe sommerse; e
s) turbine eoliche (vedere ISO 10816-21).
[...]
I requisiti del presente documento si applicano alle misurazioni delle vibrazioni a banda larga in situ effettuate sugli alberi, sui cuscinetti, sui piedistalli dei cuscinetti o sugli alloggiamenti delle macchine in condizioni operative stazionarie entro il loro intervallo di velocità operativa nominale. I requisiti riguardano sia i test di accettazione che il monitoraggio operativo. I criteri di valutazione inclusi in questo documento possono essere applicati sia a situazioni di monitoraggio continuo che non continuo.
I requisiti di questo documento riguardano macchine che possono avere ingranaggi o cuscinetti volventi, ma non affrontano la valutazione diagnostica delle condizioni di tali ingranaggi o cuscinetti.
I requisiti di questo documento sono applicabili solo per le vibrazioni prodotte da gruppi di macchine stesse e non per le vibrazioni trasmesse al gruppo di macchine da fonti esterne.
[...]
4.2 Posizione di misurazione
È prassi comune misurare le vibrazioni su parti non rotanti o parti rotanti (vibrazione relativa dell'albero) o entrambe. Salvo diversa indicazione, questo documento fa riferimento alle vibrazioni relative dell'albero quando si riferisce alle misurazioni dello spostamento effettuate su parti rotanti.
Sulle parti rotanti, i metodi di misurazione che utilizzano trasduttori senza contatto sono i più comunemente utilizzati e sono preferiti. I trasduttori sono solitamente montati come una coppia ortogonale in modo che sia possibile visualizzare un'orbita.
In alcune macchine non è possibile accedere all'albero direttamente adiacente al cuscinetto. Assicurarsi che le misurazioni rappresentino ragionevolmente la vibrazione dell'albero sul cuscinetto e non includano alcuna amplificazione dovuta a risonanze locali della staffa di supporto o a una superficie dell'albero non omogenea. Vedere ISO 10817-1 per ulteriori dettagli sulla strumentazione per la misurazione delle vibrazioni radiali su parti rotanti.
Le misurazioni sulle parti non rotanti dovrebbero essere eseguite sui cuscinetti, sulle sedi di supporto dei cuscinetti o su altre parti strutturali che rispondono in modo significativo alle forze dinamiche trasmesse dagli elementi rotanti nelle posizioni dei cuscinetti e che la caratterizzano la vibrazione d'insieme della macchina.
In alcune macchine non è possibile accedere direttamente alle sedi dei cuscinetti. In tali casi, occorre prestare attenzione per garantire che le misurazioni rappresentino ragionevolmente la vibrazione della sede dei cuscinetti e non includano risonanze o amplificazioni locali. Si dovrebbero evitare superfici sottili o altrimenti flessibili, come coperture delle ventole o cappottature. Può essere necessario confermare la ripetibilità e la validità di tali posizioni di misurazione (ad esempio, effettuando misurazioni in più posizioni e confrontando i risultati).
[...]
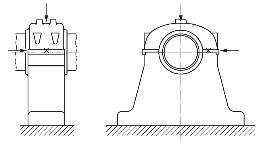
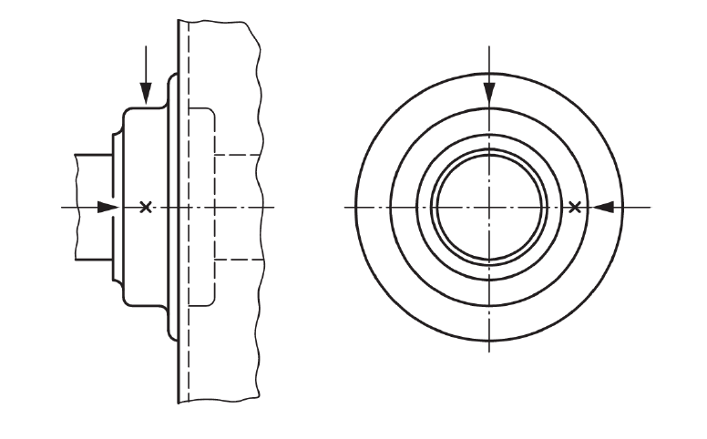
Figura 1 - Punti di misurazione per cuscinetti su sostegno a piedistallo
Figura 2 - Punti di misurazione per cuscinetti con alloggiamento
[...]
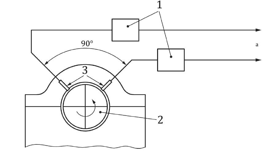
Legenda
1 unità di condizionamento del segnale
2 albero
3 trasduttori senza contatto
a Per l'elaborazione del segnale.
Figura 6 - Montaggio di sonde senza contatto per la misurazione delle vibrazioni relative dell'albero
4.3 Apparecchiature di misurazione
Ai fini del monitoraggio, le apparecchiature utilizzate devono essere in grado di misurare l’ampiezza delle vibrazioni con la velocità RMS a banda larga con risposta piatta su un intervallo di frequenza di almeno 10 Hz a 1000 Hz.
Per valutare le vibrazioni della macchina possono essere utilizzate le seguenti grandezze di misura:
a) spostamento della vibrazione, misurato in micrometri;
b) velocità di vibrazione, misurata in millimetri al secondo;
c) accelerazione di vibrazione, misurata in metri al secondo quadrato.
Per macchine con velocità prossime o inferiori a 600 giri/min, il limite inferiore dell'intervallo di frequenza di risposta piatta non deve essere superiore a 2 Hz.
Per le misurazioni effettuate su parti rotanti, l'attrezzatura utilizzata deve essere in grado di misurare la vibrazione complessiva fino ad almeno una frequenza equivalente a 3,5 volte la velocità massima di servizio. L'attrezzatura di misurazione utilizzata deve soddisfare i requisiti della norma ISO 10817-1.
[...]
4.4 Monitoraggio continuo e non continuo
È prassi comune su macchinari di grandi dimensioni o critici installare strumentazione per il monitoraggio continuo in linea dei valori di vibrazione in punti di misurazione chiave sia per il monitoraggio delle condizioni che per scopi di protezione. In alcuni casi, tale strumentazione fornisce un input al sistema di controllo.
Per molte macchine, il monitoraggio continuo dei parametri di vibrazione non viene eseguito. Le modifiche nelle condizioni dei macchinari (ad esempio squilibrio, prestazioni dei cuscinetti, allentamento strutturale, allineamento) possono essere rilevate con sufficiente affidabilità eseguendo misurazioni periodiche.
I valori di vibrazione delle linee guida forniti in questo documento possono essere applicati a misurazioni periodiche a condizione che la posizione di misurazione, la risposta in frequenza e le disposizioni di montaggio siano conformi ai requisiti di questo documento.
Gli strumenti per misurare la vibrazione delle parti rotanti sono solitamente un'installazione permanente, ma in alcuni casi il loro output può essere misurato solo periodicamente.
Le misurazioni delle vibrazioni effettuate su parti non rotanti possono essere ottenute con il fissaggio temporaneo di trasduttori; tuttavia, le macchine inaccessibili possono avere trasduttori di vibrazione installati in modo permanente collegati a una posizione accessibile o avere installato un sistema di registrazione non continuo.
5 Classificazione delle macchine
5.1 Generalità
In questo documento, la gravità delle vibrazioni è classificata in base ai seguenti parametri:
a) tipo di macchina;
b) potenza nominale o altezza dell'albero (vedere anche ISO 496);
c) flessibilità del sistema di supporto.
5.2 Classificazione in base al tipo di macchina, alla potenza nominale o all'altezza dell'albero
Differenze significative nella progettazione, nel tipo di cuscinetti e nelle strutture di supporto richiedono una separazione in due diversi gruppi di macchine per quanto riguarda la potenza nominale o l'altezza dell'albero H (vedere Nota 1).
Le macchine di questi due gruppi possono avere alberi orizzontali, verticali o inclinati e possono essere montate su supporti rigidi o flessibili.
Gruppo 1: Macchine di grandi dimensioni con potenza nominale superiore a 300 kW; macchine elettriche con altezza dell'albero H ≥ 315 mm.
Queste macchine hanno normalmente cuscinetti a strisciamento. La gamma di velocità operative o nominali è relativamente ampia e varia da 120 giri/min a 30.000 giri/min.
Gruppo 2: Macchine di medie dimensioni con potenza nominale superiore a 15 kW fino a 300 kW; macchine elettriche con altezza dell'albero 160 mm ≤ H < 315 mm.
Queste macchine hanno normalmente cuscinetti volventi e velocità operative superiori a 600 giri/min.
NOTA 1 L'altezza dell'albero H di una macchina è definita in conformità alla norma ISO 496 come la distanza, misurata sulla macchina pronta per la consegna, tra la linea centrale dell'albero e il piano di base della macchina.
5.3 Classificazione in base alla flessibilità del supporto
Per indicare la flessibilità dell'assemblaggio del supporto in direzioni specifiche, vengono utilizzate due classificazioni:
a) rigido;
b) flessibile.
Queste condizioni di supporto sono determinate dalla relazione tra la flessibilità della macchina e quella della fondazione.
Se la frequenza naturale più bassa della macchina combinata e del sistema di supporto nella direzione di misurazione è superiore alla sua frequenza di eccitazione principale (nella maggior parte dei casi la frequenza di rotazione) di almeno il 25%, il sistema di supporto può essere considerato rigido in quella direzione.
Tutti gli altri sistemi di supporto possono essere considerati flessibili. Come esempi tipici: motori elettrici di grandi e medie dimensioni, principalmente a basse velocità, hanno normalmente supporti rigidi; mentre turbogeneratori o compressori, con potenza superiore a 10 MW, e set di macchine verticali hanno solitamente supporti flessibili.
In alcuni casi, un gruppo di supporto può essere rigido in una direzione di misurazione e flessibile nell'altra direzione. Ad esempio, la frequenza naturale più bassa nel piano verticale può essere ben al di sopra della frequenza di eccitazione principale, mentre la frequenza naturale del piano orizzontale può essere notevolmente inferiore. Tale sistema è rigido nel piano verticale ma flessibile in quello orizzontale. In tali casi, la vibrazione deve essere valutata in base alla classificazione del supporto che corrisponde alla direzione di misurazione. Se la classe del sistema di supporto della macchina non può essere facilmente determinata da disegni e calcoli, può essere determinata tramite test.
[...]
6 Criteri di valutazione
6.1 Generalità
La norma ISO 20816-1 fornisce una descrizione generale dei due criteri di valutazione utilizzati per valutare la gravità delle vibrazioni su varie classi di macchine industriali.
Il primo considera l'ampiezza della vibrazione a banda larga osservata; il secondo considera le variazioni (sia in aumento che in diminuzione) dell’ampiezza della vibrazione a banda larga osservata.
Per molte macchine industriali, la velocità di vibrazione rms (valore medio efficace) misurata su parti non rotanti viene utilizzata come base per valutare la gravità delle vibrazioni, a causa della facilità di accesso per le misurazioni. Tuttavia, per alcune macchine è anche prudente misurare la vibrazione relativa dell'albero picco-picco e, laddove questi valori siano disponibili, devono essere utilizzati anche per valutare la gravità delle vibrazioni.
Applicazione 1° Criterio
6.2 Criterio I: Ampiezza della vibrazione
6.2.1 Generalità
Per le misurazioni effettuate su parti rotanti, la gravità della vibrazione è il valore più elevato dello spostamento picco-picco a banda larga, misurato nelle due direzioni di misurazione ortogonali selezionate.
Per le misurazioni effettuate su parti non rotanti, la gravità della vibrazione è il valore rms più elevato della velocità a banda larga misurata in corrispondenza o in prossimità di un cuscinetto.
Questo criterio riguarda la definizione dei limiti per l'entità della vibrazione coerenti con carichi dinamici accettabili sui cuscinetti e una trasmissione accettabile delle vibrazioni nell'ambiente attraverso la struttura di supporto e la fondazione. L'entità massima della vibrazione osservata su ciascun cuscinetto o piedistallo viene valutata rispetto alle zone di valutazione per la classe di supporto. Le zone di valutazione sono state stabilite dall'esperienza con macchinari di questo tipo e, se si presta loro la dovuta attenzione, è possibile aspettarsi un funzionamento accettabile della macchina. Se viene utilizzata una sola direzione di misurazione, assicurarsi che fornisca informazioni adeguate (per ulteriori informazioni, fare riferimento alla norma ISO 20816-1).
I valori limite della zona di valutazione sono presentati per le condizioni operative stazionarie specificate alle gamme di velocità e carico nominali.
Si applicano per normali variazioni lente del carico ma non si applicano quando sussistono condizioni diverse o durante variazioni transitorie (ad esempio durante l'avvio e l'arresto e quando si attraversano intervalli di risonanza). Vedere 6.4 per ulteriori indicazioni a questo proposito.
Il giudizio complessivo sullo stato vibratorio di una macchina viene spesso effettuato in base a misurazioni delle vibrazioni effettuate sia sulle parti rotanti che su quelle non rotanti.
Non è prassi comune misurare le vibrazioni assiali sui cuscinetti principali portanti il carico radiale durante il monitoraggio operativo continuo. Tali misurazioni vengono utilizzate principalmente durante indagini periodiche sulle vibrazioni o per scopi diagnostici. Alcuni guasti vengono rilevati più facilmente nella direzione assiale. Criteri specifici per le vibrazioni assiali si applicano solo nel caso di cuscinetti assiali in cui le vibrazioni assiali sono correlate alle pulsazioni assiali, che possono causare danni alle superfici portanti il carico assiale.
I valori limite della zona di valutazione mostrati nella Tabella 1 e si applicano alle vibrazioni radiali su tutti i cuscinetti e alle vibrazioni assiali sui cuscinetti assiali.
6.2.2 Zone di valutazione
6.2.2.1 Generalità
Le seguenti zone di valutazione sono definite per permettere una valutazione qualitativa delle vibrazioni di una data macchina in condizioni di funzionamento a regime e di fornire linee guida sui possibili interventi.
Zona A: la vibrazione delle macchine appena messe in servizio rientra normalmente in questa zona.
NOTA Lo sforzo richiesto per ottenere la vibrazione nella Zona A può essere sproporzionato e non necessario.
Zona B: le macchine con vibrazione in questa zona sono normalmente considerate accettabili per un funzionamento a lungo termine senza restrizioni.
Zona C: le macchine con vibrazione in questa zona sono normalmente considerate insoddisfacenti per un funzionamento continuo a lungo termine. In genere, la macchina può essere utilizzata per un periodo limitato in queste condizioni fino a quando non si presenta un'opportunità adatta per un'azione correttiva.
Zona D: i valori di vibrazione in questa zona sono normalmente considerati di gravità sufficiente a causare danni alla macchina.
Allegato A (normativo)
Criteri di valutazione per le vibrazioni misurate su parti non rotanti di macchine industriali accoppiate in condizioni operative specificate.
E’ stato trovato che la velocità di vibrazione è sufficiente per caratterizzare i valori limite di zona delle vibrazioni su un'ampia gamma di tipi di macchine e velocità operative delle macchine.
La principale grandezza di valutazione è quindi il valore RMS complessivo della velocità di vibrazione.
Si riconosce che l'uso di un singolo valore di velocità di vibrazione, indipendentemente dalla frequenza, può portare a spostamenti di vibrazione inaccettabilmente grandi.
Ciò è particolarmente vero per le macchine con basse velocità di rotazione operative della macchina (inferiori a 600 giri/min) quando la componente di vibrazione una volta per giro è dominante.
Analogamente, i criteri di velocità costante per macchine che funzionano ad alte velocità di rotazione (>10.000 giri/min) o con un'energia di vibrazione significativa concentrata in un intervallo di alta frequenza, possono portare a valori di accelerazione inaccettabilmente alti.
I criteri di accettazione possono essere forniti in termini di spostamento, velocità e accelerazione, a seconda dell'intervallo di velocità e del tipo di macchina.
I limiti della zona di vibrazione sono presentati nella Tabella 1 per i gruppi di macchine coperti dai requisiti di questo documento.
Al momento, questi sono forniti solo in termini di velocità e spostamento. Si sottolinea che gli spostamenti sono derivati da misurazioni effettuate su parti non rotanti.
Tabella 1 - Classificazione delle zone di gravità delle vibrazioni
I valori indicati nella Tabella 1 si applicano alle misurazioni delle vibrazioni radiali effettuate su tutti i cuscinetti, i supporti dei cuscinetti o gli alloggiamenti delle macchine e alle misurazioni delle vibrazioni assiali effettuate sui cuscinetti reggispinta in condizioni operative stazionarie a velocità nominale o entro l'intervallo di velocità specificato, ma non si applicano quando la macchina è sottoposta a una condizione transitoria (ad esempio, variazione di velocità o carico).
In alcuni casi, possono esserci caratteristiche specifiche associate a una particolare macchina che giustificano l'uso di diversi valori limite di zona (superiori o inferiori).
In tali casi, è comune che il produttore spieghi le ragioni di ciò e, in particolare, confermi che la macchina non sarà messa a repentaglio dal funzionamento con valori di vibrazione più elevati. Tutti questi valori sono soggetti ad accordo tra il produttore e il cliente.
Tabella 2 - Classificazione grafica delle zone di gravità delle vibrazioni
[...]
Fig. 8 - Misurazione vibrazioni in situ non continua
Segue in allegato
...
Certifico Srl - IT | Rev. 0.0 2024
©Copia autorizzata Abbonati
Collegati
Serie norme UNI ISO 20816-X | Vibrazioni meccaniche macchine
EN 1299 Isolamento vibrazionale dei macchinari
EN 12999:2018
| Descrizione | Livello | Dimensione | Downloads | |
|---|---|---|---|---|
| Vibrazioni meccaniche macchinari Misurazioni-Valutazioni UNI ISO 20816-3 Rev. 00 2024.pdf Certifico Srl - Rev. 0.0 2024 |
595 kB | 144 |
Tags: Direttiva macchine Rischio vibrazioni Abbonati Macchine



















