Funi di sicurezza: norme e note applicative
| ID 9974 | | Visite: 17086 | Documenti Riservati Direttiva macchine | Permalink: https://www.certifico.com/id/9974 |
Funi di sicurezza: note applicative
ID 9974 | 05.02.2020
Il documento allegato analizza i casi in cui sia necessario l’uso dei dispositivi sensibili alla pressione, nello specifico le funi di sicurezza.
In ragione della grande diversità delle tecnologie su cui è basata la loro funzione di rilevamento, non tutti i tipi di dispositivi di protezione sensibili sono egualmente idonei per le applicazioni di sicurezza. L’analisi riportata nei capitoli seguenti, in riferimento alle norme tecniche applicabili, si sofferma sull’uso delle funi di sicurezza e sui criteri che portano alla loro scelta come dispositivo di sicurezza.
0. Premessa
1. Scelta dei dispositivi di protezione sensibili | EN ISO 12100:2010
2. Uso della fune di sicurezza come attuatore dell’arresto di emergenza | EN ISO 13850:2015
3. Principi generali di progettazione e prova di paraurti, piastre, fili e analoghi dispositivi sensibili alla pressione | EN ISO 13856-3:2013
3.1 Definizioni
3.2 Requisiti specifici per le funi sensibili alla pressione
3.3 Prescrizioni aggiuntive per gli interruttori a sgancio con cavo | EN 60947-5-5:1998-09
4. Tipologie di interruttori a fune
5. Componenti interruttori a fune e connettori
6. Esempi uso interruttore a fune
Norme tecniche di riferimento:
- EN ISO 12100:2010
- ISO 13856-3:2013
- EN 60947-5-5:1997
- EN ISO 13850:2015
- EN ISO 13855:2010
Tutte le norme citate sono armonizzate secondo la Direttiva 2006/42/CE Macchine.
1.4.3 Requisiti particolari per i dispositivi di protezione I dispositivi di protezione devono essere progettati e incorporati nel sistema di comando in modo tale che: - la messa in moto degli elementi mobili non sia possibile fintantoché l’operatore può raggiungerli, La loro regolazione deve richiedere un intervento volontario.
- le persone non possano accedere agli elementi mobili in movimento, e
- la mancanza o il guasto di uno dei loro elementi impedisca l’avviamento o provochi l’arresto degli elementi mobili.
Il punto 1.4.3 definisce i requisiti dei dispositivi di protezione. I requisiti definiti al punto 1.4.3 sono complementari ai requisiti generali concernenti i ripari e i dispositivi di protezione di cui al punto 1.4.1.
I requisiti concernenti i dispositivi di protezione sono simili a quelli per i ripari mobili interbloccati, in quanto hanno il medesimo scopo di garantire che gli operatori non entrino in contatto con gli elementi mobili mentre questi sono in movimento.
Va osservato che, poiché i dispositivi di protezione non costituiscono una barriera materiale, essi non sono appropriati nel caso sia necessaria una protezione contro pericoli quali, ad esempio, la proiezione di oggetti, le temperature estreme, le emissioni acustiche, le radiazioni o le emissioni di sostanze pericolose.
I dispositivi di sicurezza devono essere marcati CE in accordo alla Direttiva 2006/42/CE Macchine.
Campo d'applicazione
1. La presente direttiva si applica ai seguenti prodotti:
a) macchine;
b) attrezzature intercambiabili;
c) componenti di sicurezza;
d) accessori di sollevamento;
e) catene, funi e cinghie;
f) dispositivi amovibili di trasmissione meccanica;
g) quasi-macchine. […]
Il tipo di procedura di valutazione di conformità che si applica ad un dato prodotto dipende dalla sua appartenenza o meno a una delle categorie elencate all’allegato IV, che presentano un potenziale maggiore di rischi o che hanno una funzione critica di tutela. Le varie procedure di valutazione della conformità sono definite agli allegati VIII, IX e X e le norme per la loro selezione sono indicate all’articolo 12.
Procedure di valutazione della conformità delle macchine
1. Ai fini dell'attestazione di conformità della macchina alle disposizioni della presente direttiva, il fabbricante o il suo mandatario applica una delle procedure di valutazione della conformità di cui ai paragrafi 2, 3 e 4.
2. Se la macchina non è contemplata dall'allegato IV, il fabbricante o il suo mandatario applica la procedura di valutazione della conformità con controllo interno sulla fabbricazione della macchina di cui all'allegato VIII.
3. Se la macchina è contemplata dall'allegato IV ed è fabbricata conformemente alle norme armonizzate di cui all'articolo 7, paragrafo 2, e nella misura in cui tali norme coprono tutti i pertinenti requisiti di sicurezza e di tutela della salute, il fabbricante o il suo mandatario applica una delle procedure seguenti:
a) la procedura di valutazione della conformità con controllo interno sulla fabbricazione della macchina di cui all'allegato VIII;
b) la procedura di esame per la certificazione CE del tipo di cui all'allegato IX, più controllo interno sulla fabbricazione della macchina di cui all'allegato VIII, punto 3;
c) la procedura di garanzia qualità totale di cui all'allegato X.
4. Se la macchina è contemplata dall'allegato IV, ma è stata fabbricata non rispettando o rispettando solo parzialmente le norme armonizzate di cui all'articolo 7, paragrafo 2, ovvero se le norme armonizzate non coprono tutti i pertinenti requisiti di sicurezza e di tutela della salute o non esistono norme armonizzate per la macchina in questione, il fabbricante o il suo mandatario applica una delle procedure seguenti:
a) la procedura di esame per la certificazione CE di cui all'allegato IX, più controllo interno sulla fabbricazione della macchina di cui all'allegato VIII, punto 3;
b) la procedura di garanzia qualità totale di cui all'allegato X.
Riguardo alla procedura di valutazione della conformità applicabile ai componenti di sicurezza, va osservato che taluni componenti di sicurezza sono elencati all’allegato IV.
[…]Punto 19 - Dispositivi di protezione per rilevare la presenza di persone. […]
Il punto 19 copre i componenti di sicurezza che rilevano la presenza di persone o parti del corpo e che trasmettono un conseguente segnale al sistema di comando per ridurre i rischi per la persona rilevata. Il segnale può essere generato quando una persona o parti del corpo superano il limite predeterminato (disinnesto) o quando viene individuata una persona in una zona predeterminata (rilevamento delle presenze) o entrambi. Questi dispositivi di protezione comprendono, ad esempio:
- i dispositivi di protezione sensibili alla pressione come, ad esempio, pedane, pavimenti, sponde, barre, respingenti, placche e fili sensibili alla pressione;
- i dispositivi di protezione optoelettronici attivi quali, ad esempio, barriere fotoelettriche, impianti a scansione, fasci di luce e sistemi laser;
- i dispositivi di protezione radar, a raggi infrarossi, a raggi ultrasonici e con fotocamera.
Excursus
1. Scelta dei dispositivi di protezione sensibili | EN ISO 12100:2010
I tipi di dispositivi di protezione sensibili includono:
- dispositivi di scansione, per esempio laser di scansione;
- tappeti sensibili alla pressione; e
- barre sensibili, fili sensibili.
I dispositivi di protezione sensibili possono essere utilizzati:
- per rilevare una presenza;
- sia per rilevare il superamento di un limite sia per rilevare una presenza; oppure
- per riavviare il funzionamento della macchina - una pratica che è soggetta a condizioni severe.
Le seguenti caratteristiche del macchinario, tra le altre, possono precludere l'uso esclusivo dei dispositivi di protezione sensibili:
- tendenza del macchinario a espellere materiali o componenti;
- necessità di proteggersi contro le emissioni (rumore, radiazioni, polvere, ecc.);
- tempo di arresto della macchina irregolare o eccessivo;
- incapacità di una macchina di arrestarsi a metà di un ciclo.
Per l’implementazione dei dispositivi dovrebbe essere prestata considerazione a:
a) dimensioni, caratteristiche e posizionamento della zona di rilevamento (vedere ISO 13855, che tratta il posizionamento di alcuni tipi di dispositivi di protezione sensibili);
b) reazione del dispositivo a condizioni di avaria (vedere IEC61496 per attrezzature di protezione elettrosensibili);
c) possibilità di elusione; e
d) capacità di rilevamento e sua variazione nel corso del tempo (per esempio, in conseguenza della sua suscettibilità a diverse condizioni ambientali come la presenza di superfici riflettenti, altre sorgenti luminose artificiali, luce solare o impurità nell’aria).
I dispositivi di protezione sensibili devono essere integrati nella parte operativa e associati al sistema di comando della macchina in modo tale che:
- sia inviato un comando non appena una persona o una parte di una persona è rilevata;
- il ritiro della persona o della parte della persona rilevata non riavviino di per sé la(e) funzione(i) pericolosa(e) della macchina e, pertanto, il comando inviato dal dispositivo di protezione sensibile è mantenuto dal sistema di comando fino all’invio di un nuovo comando;
- il riavviamento della(e) funzione(i) pericolosa(e) della macchina derivi dall'attuazione volontaria, da parte dell'operatore, di un dispositivo di comando situato all'esterno della zona pericolosa, dove questa zona può essere osservata dall'operatore;
- la macchina non possa funzionare durante l'interruzione della funzione di rilevamento del dispositivo di protezione sensibile, eccetto che durante le fasi di inibizione; e
- la posizione e la forma del campo di rilevamento impediscano, eventualmente insieme ai ripari fissi, che una persona o parte di una persona entrino nella zona pericolosa o siano presenti nella stessa senza essere rilevate.
Nel caso della fune di sicurezza non può essere usata da sola come dispositivo di protezione sensibile alla pressione perché fornirebbe una protezione parziale. Può essere installata ed utilizzata come dispositivo di arresto di emergenza in accordo alla norma tecnica EN ISO 13850:2015.
L’applicazione più comune della fune di sicurezza è quando abbiamo lunghi tratti di macchinari, come ad esempio i nastri trasportatori. In tali situazioni il dispositivo potrà essere utilizzato come arresto di emergenza, cioè come una misura di protezione complementare da integrare con protezioni primarie (ripari fissi, ecc…).
...
3. Principi generali di progettazione e prova di paraurti, piastre, fili e analoghi dispositivi sensibili alla pressione | EN ISO 13856-3:2013
3.1 Definizioni
Filo sensibile alla pressione Dispositivo di protezione sensibile alla pressione con un sensore le cui caratteristiche sono un filo, una fune, una corda o un cavo tenuti in tensione e che quando rileva un cambio della tensione da un segnale in uscita.
Dispositivo sensibile alla pressione Dispositivi di protezione sensibili attivati meccanicamente dallo spostamento destinati a rilevare il tocco di una persona o parte del corpo di una persona e che possono anche fungere da dispositivo di impedimento.
Sensore Parte del dispositivo di protezione sensibile alla pressione che genera un segnale in risposta a sufficiente pressione applicata a parte della sua superficie.
Unità di controllo Parte del dispositivo di protezione sensibile alla pressione che risponde alle condizioni del sensore e genera segnali di uscita al sistema di controllo della macchina.
Corsa di attivazione Distanza percorsa da un oggetto specifico, spostandosi nella direzione della forza di azionamento applicata e misurata dal punto in cui questo oggetto tocca la superficie di rilevamento effettiva al punto in cui il dispositivo di commutazione del segnale di uscita passa a uno stato OFF in determinate condizioni.
Forza di azionamento Qualsiasi forza applicata al sensore che induce il dispositivo di commutazione del segnale di uscita a passare allo Stato OFF.
Dispositivo di commutazione del segnale di uscita Parte dell'unità di controllo di un dispositivo di protezione sensibile alla pressione che è collegato al sistema di controllo della macchina e trasmissione del segnale di uscita.
Stato OFF Stato in cui i circuiti di uscita di un dispositivo di commutazione del segnale di uscita sono interrotti e interrompono il flusso di corrente o fluido.
Superficie di rilevamento efficace Parte della superficie del sensore, come dichiarato dal fabbricante, dove l'applicazione di una forza di azionamento crea uno stato OFF nel dispositivo di commutazione del segnale di uscita.
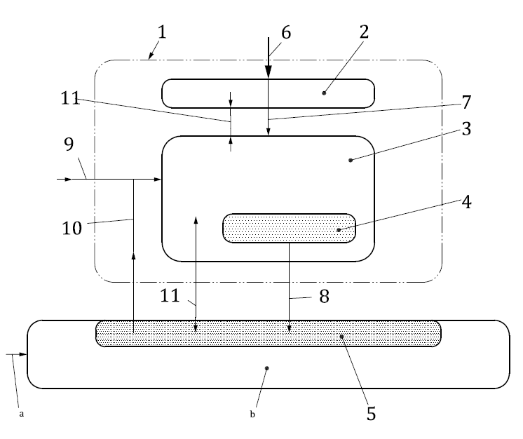
Legenda
1 dispositivo di protezione sensibile alla pressione
2 sensore(i)
3 unità di controllo*
4 segnale di uscita del dispositivo di commutazione
5 parte del sistema di controllo della macchina per la gestione del segnale di uscita del dispositivo di pressione sensibile alla pressione
6 forza di attuazione
7 sensore di uscita
8 stato del segnale ON/OFF
9 reset manuale del segnale**
10 segnale di reset dal sistema di controllo della macchina (dove appropriato)
11 segnali di monitoraggio (opzionale)
a segnale di reset manuale al sistema di controllo della macchina***
b sistema(i) di controllo della macchina
* può essere localizzato con il sistema di controllo della macchina o come una parte del sistema di controllo della macchina, ad esempio come un blocco logico
** dove appropriato, può essere usato in alternativa al punto a
*** dove appropriato, può essere usato in alternativa al punto 9
Figura 1 - Disegno sistematico del dispositivo di protezione sensibile alla pressione applicato alla macchina
...
3.2 Requisiti specifici per le funi sensibili alla pressione
Interruttori elettrici usati con le funi sensibili alla pressione devono essere conformi ai requisiti della norma IEC 60947-5-5.
Le funi devono essere progettate in modo tale che in caso di allentamento, rottura o disimpegno della fune venga generato uno stato OFF.
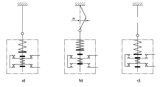
Legenda
m corsa per l’attivazione della fune di sicurezza
a) i contatti del dispositivo di interblocco sono chiusi e l’uso della macchina è possibile
b) il dispositivo è stato spostato della corsa necessaria all’attivazione. È stato generato un segnale di STOP per la macchina visto che i contatti si sono aperti. In questo caso i contatti vengono bloccati nella posizione aperta.
c) il dispositivo è stato rotto. La molla ha forzato l’altro paio di contatti aperti ed il segnale di STOP è stato generato.
Figura 3 - Esempio di dispositivo a fune sensibile alla pressione
...
6. Componenti interruttori a fune e connettori
Figura 6 – Componenti principali interruttore a fune
...
segue in allegato
Fonti
Direttiva 2006/42/CE Macchine
EN ISO 12100:2010
ISO 13856-3:2013
EN 60947-5-5:1997
EN ISO 13850:2015
EN ISO 13855:2010
Certifico Srl - IT | Rev. 0.0 2020
©Copia autorizzata Abbonati
Collegati
| Descrizione | Livello | Dimensione | Downloads | |
|---|---|---|---|---|
| Funi di sicurezza note applicative Rev. 00 2020.pdf Certifico Srl - Rev. 00 2019 |
370 kB | 484 |


















