Rischio chimico: metodo di valutazione EN 689:2019
| ID 8634 | | Visite: 54131 | Documenti Riservati Sicurezza | Permalink: https://www.certifico.com/id/8634 |
Rischio chimico: metodo di valutazione EN 689:2019 (IT)
ID 8634 | Rev. 3.0 del 23.10.2022 / Documento completo allegato
La norma EN 689:2019 rispetto all'ed. 2018 (EN 689:2018), della quale è stato proposto un Documento di approfondimento nel 2018, include il corrigendum AC:2019 che modifica le abbreviazioni, il contenuto in molti allegati, la bibliografia e i riferimenti riportati. Nella Rev. 3.0 del 23 Ottobre 2022 aggiunti i Capp. 3, 4, 5, 6, 7.
________
UNI EN 689:2019 - Atmosfera nell'ambiente di lavoro - Misura dell'esposizione per inalazione agli agenti chimici - Strategia per la verifica della conformità coi valori limite di esposizione occupazionale
Data entrata in vigore: 16 maggio 2019
La norma è stata pubblicata in italiano il 15 settembre 2020.
Recepisce: EN 689:2018+AC:2019
Sostituisce: UNI EN 689:2018
________
La norma definisce una strategia per effettuare misure rappresentative dell’esposizione per inalazione ad agenti chimici in modo da dimostrare la conformità coi limiti di esposizione occupazionale (OELVs). La presente norma europea non è applicabile a OELVs con periodi di riferimento inferiori ai 15 minuti.
La valutazione dell’esposizione e la dichiarazione certa del non superamento dei limiti di esposizione professionale richiederebbero una misura giornaliera dell’esposizione per ogni singolo lavoratore. Questo tipo di approccio è possibile per le radiazioni ionizzanti, ad esempio, ma non lo è per gli agenti chimici a causa di alcuni limiti delle tecniche di misura e dei costi delle misure stesse. La norma EN 689:2019 dà la possibilità al Datore di Lavoro di utilizzare un numero di misure ridotte per dimostrare con un elevato grado sicurezza che è improbabile che i lavoratori siano esposti a valori superiori ai valori limite.
Per ridurre il numero di misurazioni i campioni di aria vengono raccolti all’interno di gruppi simili di esposizione (SEGs). In questo modo una singola misurazione o diverse misurazioni inferiori ai limiti possono essere insufficienti a dimostrare in modo affidabile la conformità senza l’uso di test statistici.
La EN 689 è una delle metodiche standardizzate per la misurazione degli agenti contenute nell’allegato ALLEGATO XLI del D.Lgs.81/08 -Titolo IX art.225 c.2.
Il presente documento è un estratto di tutti gli allegati della norma tecnica UNI EN 689:2019 in lingua italiana (15.09.2020).
....
art.225 c.2. Misure specifiche di protezione e di prevenzione
...
2. Salvo che possa dimostrare con altri mezzi il conseguimento di un adeguato livello di prevenzione e di protezione, il datore di lavoro, periodicamente ed ogni qualvolta sono modificate le condizioni che possono influire sull'esposizione, provvede ad effettuare la misurazione degli agenti che possono presentare un rischio per la salute, con metodiche standardizzate di cui è riportato un elenco meramente indicativo nell'allegato XLI o in loro assenza, con metodiche appropriate e con particolare riferimento ai valori limite di esposizione professionale e per periodi rappresentativi dell'esposizione in termini spazio temporali.
...
ALLEGATO XLI
|
UNI EN 481:1994 |
Atmosfera nell’ambiente di lavoro. Definizione delle frazioni granulometriche per la misurazione delle particelle aerodisperse. |
|
UNI EN 482:1998 |
Atmosfera nell’ambiente di lavoro. Requisiti generali per le prestazioni dei procedimenti di misurazione degli agenti chimici |
|
UNI EN 689:1997 |
Atmosfera nell’ambiente di lavoro. Guida alla valutazione dell’esposizione per inalazione a composti chimici ai fini del confronto con i valori limite e strategia di misurazione. |
|
UNI EN 838: 1998 |
Atmosfera nell’ambiente di lavoro. Campionatori diffusivi per la determinazione di gas e vapori. Requisiti e metodi di prova. |
|
UNI EN 1076:1999 |
Atmosfera nell’ambiente di lavoro. Tubi di assorbimento mediante pompaggio per la determinazione di gas e vapori. Requisiti e metodi di prova. |
|
UNI EN 1231: 1999 |
Atmosfera nell’ambiente di lavoro. Sistemi di misurazione di breve durata con tubo di rivelazione. Requisiti e metodi di prova. |
|
UNI EN 1232: 1999 |
Atmosfera nell’ambiente di lavoro. Pompe per il campionamento personale di agenti chimici. Requisiti e metodi di prova. |
|
UNI EN 1540:2001 |
Atmosfera nell’ambiente di lavoro. Terminologia. |
|
UNI EN 12919:2001 |
Atmosfera nell’ambiente di lavoro. Pompe per il campionamento di agenti chimici con portate maggiori di 5 l/min. Requisiti e metodi di prova. |
...
Il presente documento è un estratto degli allegati della norma tecnica EN 689:2019 in lingua italiana.
...
Excursus
...
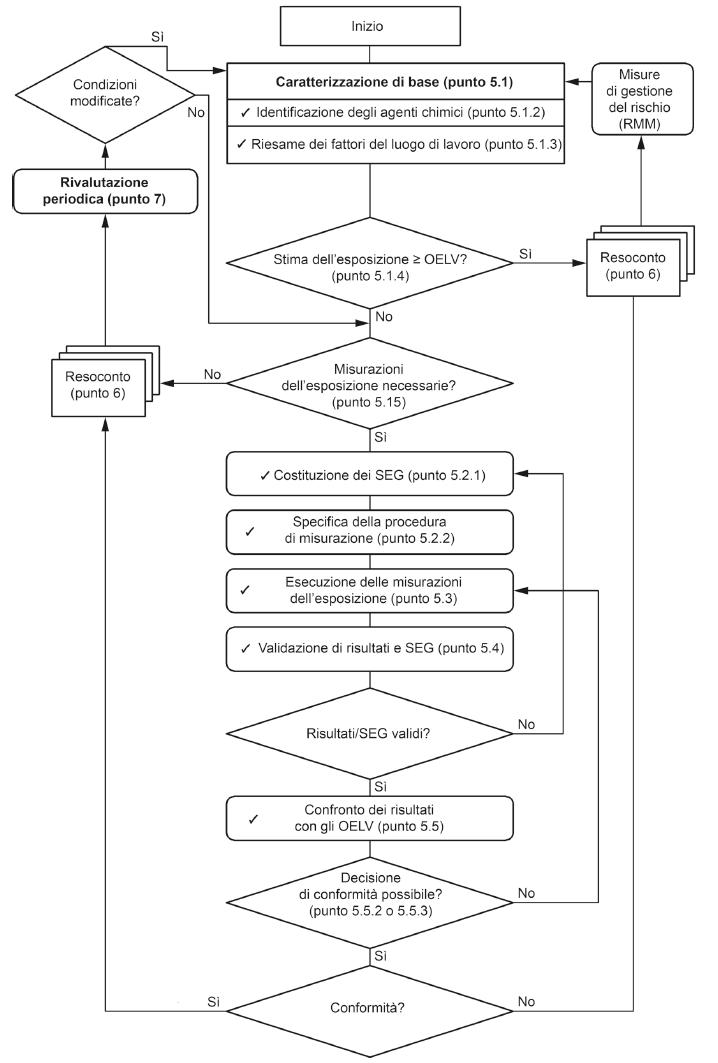
4 GENERALITÀ
La valutazione dell’esposizione occupazionale agli agenti chimici basata su campioni di aria richiede differenti procedure che devono essere condotte da un valutatore.
Essa inizia con una valutazione iniziale dell’esposizione occupazionale (descritta nei punti 5 e 6) seguita da periodiche rivalutazioni (vedere punto 7). La valutazione iniziale dell’esposizione occupazionale comprende diverse fasi:
- caratterizzazione di base dei luoghi di lavoro;
- costituzione di gruppi di esposizione similare;
- selezione di una procedura di misurazione idonea;
- esecuzione delle misurazioni dell’esposizione;
- validazione dei risultati delle misurazioni dell’esposizione e dei SEG;
- confronto dei risultati con gli OELV;
- registrazione dei risultati.
La strategia di campionamento comprende la costituzione di SEG e la definizione di procedure di misurazione.
Se la valutazione iniziale dell’esposizione occupazionale indica la non conformità agli OELV di qualche SEG, si devono implementare misure di controllo e si deve condurre una nuova valutazione iniziale dell’esposizione occupazionale.
Dopo la valutazione iniziale dell’esposizione occupazionale, si devono eseguire rivalutazioni periodiche.
Quando si verificano cambiamenti significativi nel luogo di lavoro che possono influire sulle condizioni di esposizione, il valutatore deve decidere se si deve eseguire una nuova valutazione iniziale dell’esposizione occupazionale.
La figura 1 illustra una panoramica schematica della procedura descritta nella presente norma europea.
Figura 1
Panoramica schematica delle procedure per la valutazione dell’esposizione occupazionale
5 VALUTAZIONE DELL’ESPOSIZIONE OCCUPAZIONALE
5.1 Caratterizzazione di base
5.1.1 Generalità
Prima delle misurazioni dell'esposizione, si devono prendere in considerazione le caratteristiche del luogo di lavoro e il profilo di esposizione correlato.
La caratterizzazione di base dei determinanti dell’esposizione si compone di tre passaggi:
- identificazione degli agenti chimici e delle altre informazioni richieste;
- esame dei fattori del luogo di lavoro;
- stima dell’esposizione.
Tutte le informazioni raccolte durante la caratterizzazione di base devono essere utilizzate per:
- stabilire se le misurazioni sono necessarie o meno (vedere il punto 5.1.4);
- costituire i diversi SEG.
L’utilizzo di dispositivi per il monitoraggio dell’esposizione in grado di fornire un feedback immediato all’utilizzatore, come una lettura singola o continua (i cosiddetti strumenti a lettura diretta), può fornire informazioni preziose sul livello di esposizione approssimativo, lo schema di esposizione e la variabilità dell’esposizione a livello spaziale, temporale e dei lavoratori.
5.1.2 Identificazione degli agenti chimici e delle altre informazioni richieste
La preparazione di un elenco di tutti gli agenti chimici nel luogo di lavoro e delle informazioni rilevanti al riguardo è un primo passo essenziale per l’identificazione del potenziale per una esposizione pericolosa. Le schede di dati di sicurezza e le altre informazioni disponibili sono utili per definire l’elenco. L’elenco deve includere qualsiasi delle seguenti informazioni:
- materie prime, prodotti primari, impurità, intermedi, prodotti finali, prodotti e sottoprodotti di reazione e di processo, ecc;
- i singoli agenti chimici, identificati con i numeri di registrazione delle sostanze chimiche (per esempio N° CAS, N° CE);
- proprietà pericolose, classificazione ed etichettatura;
- OELV appropriati in base all’obiettivo della valutazione (vedere l’appendice B);
- pertinenza dell’esposizione per via cutanea e orale (la presente norma europea tratta solamente la misurazione dell’esposizione per inalazione, ma la conoscenza di altre vie può essere importante nella gestione dell’esposizione);
- ulteriori informazioni quali quantità utilizzata, tensione di vapore, temperatura, concentrazione di saturazione, polverosità, ecc.
5.1.3 Esame dei fattori del luogo di lavoro
I processi e le procedure di lavoro devono essere valutati per delineare l'esposizione e il profilo di esposizione agli agenti chimici mediante un esame dettagliato dei fattori del luogo di lavoro, quali:
- organizzazione del lavoro: attività, operazione unitaria, mansione, turni di lavoro, funzioni lavorative, ecc.;
- processi e tecniche (tipo di processi, temperatura, pressione, ecc.);
- disposizione e configurazione del luogo, inclusi spazi confinati, all’aperto, ecc.;
- precauzioni e procedure di sicurezza (area soggetta a restrizioni, ecc.);
- pulizia e ordine del luogo di lavoro;
- sistemi di ventilazione e altre misure di controllo tecnico e qualsiasi informazione sulle loro prestazioni;
- sorgenti di emissione e ubicazioni delle concentrazioni elevate;
- periodi, frequenze e durate dell'esposizione tenendo conto della variazionedell’esposizione con l’ora del giorno e la stagione dell’anno;
- carico di lavoro;
- comportamento del lavoratore; oppure indicatore del livello di attività o produzione.
5.1.4 Stima dell’esposizione
Il valutatore deve raccogliere le informazioni disponibili per consentire stime affidabili dell’esposizione dei lavoratori. L’appendice A fornisce una guida al riguardo.
Le possibili fonti di informazioni comprendono:
- risultati di precedenti misurazioni nello stesso luogo di lavoro, inclusi quelli ottenuti da strumenti a lettura diretta;
- risultati di misurazioni da installazioni o processi di lavoro simili (banche dati, letteratura, ecc.);
- calcoli basati su informazioni quantitative pertinenti;
- modellazione dell’esposizione.
Si dovrebbe decidere che un’esposizione è molto minore dell’OELV, per esempio, nei seguenti casi:
- la capacità di rilascio è bassa per via delle condizioni di lavoro e delle proprietà delle sostanze (per esempio bassa tensione di vapore, alto punto di ebollizione con bassa temperatura di lavorazione, bassa propensione a fare polvere);
- le condizioni operative non possono dar luogo alla formazione di aerosol;
- sono utilizzate solo piccole quantità;
- sono possibili solo basse emissioni, per esempio per via delle ridotte superfici delle sorgenti o della breve durata dell'attività (<15 min).
Tali stime devono essere utilizzate per prendere una decisione di cui al punto 5.1.5.
Si devono utilizzare le stime anche per verificare se le tecniche di campionamento e analisi proposte per le misurazioni sono adeguate.
...
APPENDICE A VALUTAZIONE DELL’ESPOSIZIONE
(informativa)
A.1 Generalità
La presente appendice indica una guida in merito a quando le misurazioni sono consigliabili oppure se possono essere utilizzati altri approcci di valutazione.
In pratica, esistono diversi modi per valutare l’esposizione dei lavoratori agli agenti chimici. La presente appendice è intesa come supporto all’identificazione e alla valutazione dell'esposizione per inalazione nei luoghi di lavoro.
Nella valutazione, può essere necessario considerare insieme tutte le attività di un’area di lavoro, che è una parte di un sito delimitata dal punto di vista spaziale od organizzativo, nella quale sono eseguite da uno o più lavoratori attività che coinvolgono agenti chimici e possono essere riunite in una valutazione del rischio. Può comprendere uno o più luoghi di lavoro o processi di lavoro. Sono dettagliati i principali fattori da utilizzare per scegliere il metodo appropriato per la valutazione dell’esposizione, inclusi il tipo e la durata dell’esposizione per inalazione nei luoghi di lavoro.
In aggiunta alle misurazioni dell’esposizione, i metodi utilizzati per valutare l'esposizione generalmente includono:
- misurazioni di parametri tecnici, per esempio velocità dell'aria, tasso di ricambio dell'aria;
- calcolo dell'esposizione (utilizzando modelli o algoritmi appropriati);
- confronto con altri luoghi di lavoro, nella stessa azienda o in altre aziende;
- approcci basati su "control banding"; e
- guida alle buone pratiche per settori o attività definite.
Le misurazioni del caso ragionevolmente peggiore sono eseguite per valutare le esposizioni massime che potrebbero verificarsi con i controlli in atto.
Quando si applica uno di questi metodi e c’è ancora incertezza sull’identificazione del risultato e la relativa valutazione, si raccomandano ulteriori misurazioni nel luogo di lavoro. Nei punti da A.2 a A.9 sono descritte situazioni di luoghi di lavoro differenti insieme ad informazioni sui possibili metodi per valutare l’esposizione e per derivare misure di protezione idonee. Il prospetto A.1 indica una panoramica di situazioni di luoghi di lavoro affrontate nella presente appendice e il modo di valutazione dell'esposizione raccomanda
Prospetto A.1 Panoramica di approcci alla valutazione dell’esposizione in situazioni di luoghi di lavoro differenti
...
APPENDICE E CONTROLLO DELLA DISTRIBUZIONE DELLE MISURAZIONI DELL’ESPOSIZIONE E IDENTIFICAZIONE DI ESPOSIZIONE ECCEZIONALI ALL’INTERNO DEL SEG
E.1 Generalità
L’appendice E indica metodi grafici e statistici per la validazione dei risultati e dei SEG, come richiesto nel punto 5.4, per l’identificazione delle persone o dei gruppi la cui esposizione non è adeguatamente rappresentata dal SEG, e per la decisione di utilizzare la distribuzione normale o lognormale nella verifica di conformità (vedere l’appendice F).
Il metodo grafico supporta l’identificazione di un LOQ (vedere l’appendice H) ed è applicato utilizzando almeno sei misurazioni dell'esposizione nel SEG.
I risultati delle misurazioni possono essere analizzati per vedere se si approssimano meglio a una distribuzione normale o lognormale. In molte circostanze, la variabilità dell'esposizione è influenzata dalle interazioni moltiplicative dei fattori del luogo di lavoro (vedere il punto 5.1.3 e le appendici A e D). Generalmente le misurazioni si approssimano a una distribuzione lognormale e questo fatto è stato spesso osservato [22],[23]. Tuttavia le misurazioni possono seguire una distribuzione normale in presenza di un controllo elevato dei fattori del luogo di lavoro in condizioni costanti (vedere punto A.2) oppure se l’influenza dei fattori del luogo di lavoro è superata dalla variazione casuale nel procedimento di misurazione (vedere il punto 5.2.2) [28].
La forma della distribuzione dei risultati delle misurazioni può essere esaminata mediante un test statistico, come per esempio il test di Shapiro e Wilk [3], per vedere se la loro distribuzione è più vicina a una distribuzione lognormale piuttosto che a una distribuzione normale. Per esempio, i risultati possono essere sottoposti a test inizialmente per vedere se la loro distribuzione si approssima a una distribuzione normale. Ciò fornisce una probabilità p1 dell’ipotesi che la distribuzione normale si approssimi ai risultati. Il test può quindi essere ripetuto utilizzando i logaritmi dei risultati, dando una probabilità p2. Se p1 > p2 si può concludere che una distribuzione normale si approssima ai risultati meglio di una distribuzione lognormale. Il risultato del confronto di p1 e p2 determina la distribuzione da utilizzare per la verifica di conformità (vedere l’appendice F).
Il valutatore dovrebbe tenere conto del fatto che la distribuzione dell’esposizione può deviare nelle code dal modello (log)normale (vedere punto il E.2.3) e che la distribuzione normale non esclude concentrazioni negative. Può verificarsi il troncamento a concentrazioni maggiori (vapore saturo, limite di esplosività o polverosità massima), come il taglio della coda inferiore dovuta al crescente numero di risultati minori del LOQ.
Pertanto è importante il controllo sulla distribuzione e sull’aggregazione dei risultati prima dell’analisi del LOQ (vedere l’appendice H) e dell’applicazione dei modelli nel test di conformità (vedere il punto 5.5.3 e l’appendice F).
Il punto E.2 descrive un metodo grafico per una distribuzione lognormale. Per decidere se una distribuzione normale descrive i risultati al meglio, la procedura dovrebbe essere ripetuta utilizzando carta di probabilità normale.
Il punto E.3 si riferisce al software che automatizza il metodo grafico del punto E.2, prova la bontà di approssimazione (vedere il punto E.2.2) e prova la coerenza del SEG (vedere il punto E.2.4.3).
...
E.2.4.2 SEG composti da due gruppi
La figura E.2 illustra un tracciato della probabilità logaritmica che suggerisce due line rette intersecanti invece di una linea retta singola. Queste misurazioni sono state divise in due gruppi diversi (con il punto centrale in ciascuno, dato che questo risultato potrebbe essere in entrambi i gruppi) e le due serie sono state tracciate separatamente sullo stesso grafico nella figura E.3.
Le figure E.2 e E.3 suggeriscono che il SEG include due diversi gruppi con profili di esposizione diversi; il SEG dovrebbe essere diviso in due e dovrebbero essere eseguite altre misurazioni dell’esposizione per far sì che il numero di misurazioni in ciascun SEG raggiunga il minimo richiesto dal test statistico scelto nel punto 5.5.3. Se queste misurazioni aggiuntive sono inserite nel tracciato originale, modificando la figura E.2, possono chiarire se sono presenti una o più distribuzioni oppure se esiste una spiegazione diversa.
Legenda
X esposizione xk (mg/m3)
Y probabilità Pk x 100
figura E.2 Esempio di misurazioni dell'esposizione che sembrano provenire da due popolazioni diverse all’interno del SEG, ciascuna con una distribuzione lognormale dell’esposizione
Legenda
X esposizione xk (mg/m3)
Y probabilità Pk x 100
figura E.3 Misurazioni dell’esposizione ritracciate come due serie differenti (con il punto centrale incluso in entrambe), confermando che queste sembrano essere due diverse popolazioni distribuite in modo lognormale.
...
Premessa
A.1 General
A.2 Workplaces with constant conditions
A.3 Shortened exposure at workplaces with constant working conditions
A.4 Workplaces involving occasional exposure
A.5 Stationary workplaces with irregular exposure
A.6 Workers who move from a workplace to another with irregular exposure
A.7 Workplaces with unpredictable, constantly changing exposure
A.8 Outdoor workplaces
A.9 Underground workplaces
C.1 General
C.2 Tier 1: Exposure index (IE)
C.3 Tier 2: Additive effect exposure index (IAE)
C.4 Other approaches
D.1 General
D.2 Measurement for testing compliance with 8 h- OELV
D.3 Measurement for testing compliance with short-term limit value
E.1 General
E.2 Graphical method
E.2.1 Principle
E.2.2 Plotting
E.2.3 Example
E.2.4 Examples of SEGs requiring further consideration
E.2.4.1 General
E.2.4.2 SEG consisting of two groups
E.2.4.3 Some individuals with exceptional exposure
E.2.4.4 Distributions appearing to be not lognormal
E.3 Statistical methods for the validation of SEGs
F.1 General
F.2 SEG compliance test for at least six exposure measurements
F.3 Decision
H.1 General
H.2 Principle
H.3 Example
H.4 Uncertainty
H.5 Software
Fonte: UNI
Certifico Srl - IT | Rev. 3.0 2022
©Copia autorizzata Abbonati
Matrice Revisioni
| Rev. | Data | Oggetto | Autore |
| 3.0 | 23.10.2022 | Aggiunti Cap. 3,4.5.6.7 | Certifico Srl |
| 2.0 | 11.03.2022 | EN 689:2019 in lingua IT | Certifico Srl |
| 1.0 | 2019 | Aggiornato con corrigendum 1 | Certifico Srl |
| 0.0 | 2019 | --- | Certifico Srl |
Collegati:
Focus EN 689: Valutazione del Rischio chimico
UNI EN 689:2018 Valutazione del rischio chimico
UNI EN 689:1997 Guida Valutazione esposizione per inalazione
Rischio chimico: metodo di valutazione EN 689:2018
| Descrizione | Livello | Dimensione | Downloads | |
|---|---|---|---|---|
| Rischio chimico Metodo di valutazione UNI EN 689 2019 IT - Rev. 3.0 2022.pdf Certifico Srl - Rev. 3.0 2022 |
885 kB | 945 | ||
| Rischio chimico Metodo di valutazione UNI EN 689 2019 IT - Rev. 2.0 2022.pdf Certifico Srl - Rev. 2.0 2022 |
714 kB | 539 | ||
| Rischio chimico metodo di valutazione EN 689 2019 Rev. 1.0 2019.pdf Certifico Srl - Rev. 1.0 2019 |
741 kB | 1005 |
























