Progettazione scale fisse accessi macchine: EN ISO 14122-4
| ID 2940 | | Visite: 145115 | Documenti Riservati Normazione | Permalink: https://www.certifico.com/id/2940 |
Progettazione Scale fisse accessi macchine: EN ISO 14122-4
Aggiornamento EN ISO 14122-4:2016 (Traduzione IT non ufficiale)
Il Presente Vademecum, estratto dalla norma EN ISO 14122-4, intende fornire una panoramica generale sulla progettazione di scale fisse di accesso alle macchine, con illustrazioni.
Il documento Rev. 2.0 è basato sulla norma Ed. 2016 (EN ISO 14122-4:2016) che è cambiata in modo sostanziale rispetto alla Ed. 2010 (EN ISO 14122-4:2010).
EN ISO 14122-4:2016 Scale fisse - Novità introdotte
Il Vademecum EN 14122-4: 2016 Rev. 2.0 analizza le novità introdotte dalla versione 2016 della norma rispetto all'Edizione 2010.
Il presente documento non sostituisce la norma tecnica di riferimento, la cui consultazione rimane di fondamentale importanza per una corretta progettazione delle scale fisse.
A differenza della vecchia norma EN ISO 14122-4:2010 che metteva da subito in evidenza quali fossero le dimensioni da rispettare nella progettazione delle scale fisse, la versione 2016 della norma fornisce una linea guida per la scelta delle caratteristiche che il prodotto dovrà avere.
Le linee guida della norma permettono di scegliere la scala in base allo spazio disponibile ed i dispositivi di protezione in base alla valutazione dei rischi (rif. EN ISO 12100).
La versione 2016 della norma stabilisce anche come eseguire le prove di robustezza su ogni singolo elemento della scala (come applicare i pesi di prova ai vari elementi della struttura) e quali devono essere le sue caratteristiche geometriche.
Tra le novità introdotte:
- non è più possibile realizzare dei pioli di forma circolare;
- introduzione dei requisiti sulle botole di accesso per impedire la salita a personale non autorizzato, non formato o non munito dei dispositivi anticaduta;
- possibilità di usare le strutture che circondano la macchina (muri, o parti di altre macchine) come gabbia di sicurezza;
- obbligo dell'uso di recinzioni o protezioni anticaduta anche se è previsto l'uso dell'imbragatura sulla scala.
Esempio 1:
I pioli devono essere posizionati in modo che la loro superficie di appoggio del piede sia perpendicolare all’asse del montante. I pioli circolari non possono essere usati, la superficie calpestabile deve essere ≥ 20 mm.
Legenda
1. Superficie calpestabile
2. Nessuno spigolo vivo
3. Piolo
Es. 2: Botola di uscita
Legenda
1. Botola
2. Meccanismo di rilascio
3. Presa
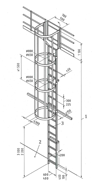
Es. 3: Dimensioni gabbia di sicurezza
La parte più bassa della gabbia di sicurezza, ad esempio il cerchio più basso, deve essere ad una altezza compresa tra 2200 e 3000 mm.

Legenda
1. Corrimano della zona di arrivo
2. Ostacolo
3. Spazio aperto
a. Altezza della scala totale H, o della rampa
Es. 4: Spazio interni gabbia

Es. 4 Sintesi dei principali dimensioni di una scala fissa dotati gabbia di sicurezza
Fonte EVS
EN ISO 14122-4:2016
Sicurezza del macchinario
Mezzi di accesso permanenti al macchinario
Parte 4: Scale fisse
RESS Direttiva macchine 2006/42/CE "Presunti Conformi":
Allegato ZB (Informativo) Relazione tra la presente norma europea e i Requisiti Essenziali (RESS) della Direttiva 2006/42/CE
La presente norma internazionale è stata elaborata nell'ambito di un mandato conferito al CEN dalla Commissione Europea e l'Associazione europea di libero scambio per fornire un mezzo per soddisfare i requisiti essenziali della Direttiva Nuovo Approccio 2006/42/CE.
Una volta che questo standard è citato nella Gazzetta ufficiale dell'Unione europea ai sensi di tale direttiva ed è implementata come norma nazionale in almeno uno Stato membro, il rispetto della norma, entro i limiti del campo di applicazione, è "Presunzione di conformità" ai Requisiti Essenziali dell'Allegato I della Direttiva macchine:
1.5.15 Rischio di scivolamento, inciampo o caduta
Traduzione IT non Ufficiale, vedere:
Matrice Revisioni:
| Rev. | Data | Oggetto | Elaborato |
| 2.0 | 2017 (EN ISO 14122-4:2016) | normativo | Certifico Srl |
| 1.0 | 2016 (EN ISO 14122-4:2010) | --- | Certifico Srl |
Collegati
EN 14122-2 Mezzi accesso permanenti macchinario P. 2: Piattaforme e corridoi - File CEM
Progettazione scale, scale a castello e parapetti: EN ISO 14122-3
Progettazione scale fisse accessi macchine: EN ISO 14122-4
Le norme della serie EN ISO 14122:1-2-3
| Descrizione | Livello | Dimensione | Downloads | |
|---|---|---|---|---|
| Progettazione scale fisse macchine EN ISO 14122-4 Rev. 2.0 2017.pdf Certifico Srl. - Rev. 2.0 2017 |
1300 kB | 1423 | ||
| Progettazione scale fisse macchine EN ISO 14122-4 Rev. 1.0 2016.pdf Certifico Srl - Rev. 1.0 2016 |
922 kB | 278 |



















