EN ISO 13856-2:2013 | Bordi e barre sensibili alla pressione
| ID 15046 | | Visite: 4818 | Documenti Riservati Normazione | Permalink: https://www.certifico.com/id/15046 |
EN ISO 13856-2:2013 | Bordi e barre sensibili alla pressione
ID 15046 | 13.12.2021 / Documento di approfondimento completo in allegato
Documento di approfondimento sui principi generali e i requisiti di progettazione e prova dei dispositivi di protezione sensibili alla pressione in accordo alla norma tecnica EN ISO 13856-2:2013.
Il presente documento è una traduzione non ufficiale in lingua italiana di parti della norma EN ISO 13856-2:2013 - Traduzione non ufficiale IT.
La norma fornisce i requisiti specifici per bordi e barre sensibili alla pressione.
Data entrata in vigore: 17 aprile 2013
Recepita in Italia con la UNI EN ISO 13856-2:2013, entrata in vigore il 26 novembre 2013.
La norma fa parte delle norme armonizzate per la Direttiva 2006/42/CE sulle macchine.
Tabella ZA.1 EN ISO 13856-2:2013 - Corrispondenza tra la presente norme europea e la Direttiva 2006/42/CE
[...]
1. Definizioni
Bordo sensibile alla pressione: dispositivi di protezione sensibili ad attivazione meccanica comprendenti un sensore o dei sensori e un'unità di controllo e uno o più dispositivi di commutazione del segnale di uscita destinati a rilevare il contatto con una persona o una parte del corpo di una persona e dove la superficie di rilevamento effettiva si deforma localmente per azionare il/i sensore/i.
Nota 1 Il sensore o i sensori generano un segnale quando viene applicata pressione a una parte della sua superficie. L’unità di controllo risponde al segnale dal sensore e genera uno o più segnali di uscita verso il sistema di comando della macchina.
Nota 2: La lunghezza del/i sensore/i è maggiore della larghezza. La sezione trasversale per tutta l'area sensibile alla pressione è costante e la sua larghezza è generalmente compresa tra 8 mm e 80 mm.
Nota 3: Per la definizione di dispositivi di protezione sensibili, vedere ISO 12100:2010, 3.28.5.
Barra sensibile alla pressione: dispositivi di protezione sensibili ad attivazione meccanica comprendenti un sensore o dei sensori e un'unità di controllo e uno o più dispositivi di commutazione del segnale di uscita destinati a rilevare il contatto con una persona o una parte del corpo di una persona e dove la superficie di rilevamento effettiva si muove interamente per azionare il/i sensore/i.
Nota 1 Il sensore o i sensori generano un segnale quando viene applicata pressione a una parte della sua superficie. L’unità di controllo risponde al segnale dal sensore e genera uno o più segnali di uscita verso il sistema di comando della macchina.
Nota 2: La lunghezza del/i sensore/i è maggiore della larghezza. La sezione trasversale per tutta l'area sensibile alla pressione è costante e la sua larghezza è generalmente compresa tra 8 mm e 80 mm.
Nota 3: Per la definizione di dispositivi di protezione sensibili, vedere ISO 12100:2010, 3.28.5.
[...]
2 Requisiti per la progettazione ed il collaudo
2.1 Superficie di rilevamento effettiva
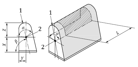
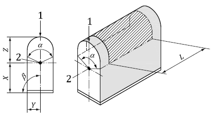
Il fabbricante del dispositivo di protezione sensibile alla pressione deve indicare l'effettiva superficie di rilevamento indicando le dimensioni X, Y, Z, gli angoli e la lunghezza di rilevamento effettiva L come indicato nelle Figure 2 e 3.
L'effettivo angolo di rilevamento dei dispositivi di protezione sensibili alla pressione con altezze (vedi Figura 2) X + Z 40 mm deve essere 90°. L'angolo di rilevamento effettivo dei dispositivi di protezione sensibili alla pressione con altezze X + Z < 40 mm deve essere almeno 40°.
Se l'angolo di rilevamento effettivo è inferiore a 90°, nelle informazioni per l'uso deve essere fornito un chiaro avvertimento.
a) dispositivo simmetrico con superficie morta alle estremità
b) dispositivo simmetrico senza superficie morta alle estremità
) dispositivo asimmetrico con superficie morta alle estremità
d) dispositivo asimmetrico senza superficie morta alle estremità
Legenda
1 direzione di riferimento
2 asse di riferimento
l lunghezza di rilevamento effettiva
α angolo di rilevamento effettivo
β bordo sensore
Superficie di rilevamento effettiva
Figura 2 - Superfici di rilevamento efficaci dei bordi sensibili alla pressione
[...]
3.3.2 Informazioni relative al funzionamento del bordo sensibile o della barra sensibile alla pressione
Le seguenti informazioni relative al funzionamento del bordo sensibile alla pressione o della barra sensibile alla pressione devono essere fornite.
a) Informazioni relative all'uso del bordo sensibile alla pressione o della barra sensibile alla pressione:
1) scopo e modalità di funzionamento dell’unità di comando e degli indicatori,
2) informazioni sui limiti d’uso,
3) istruzioni per l'identificazione del guasto e per il riavvio dopo un intervento/attivazione,
4) indicazione delle esclusioni di guasto,
5) dettagli sul PL calcolato,
6) dichiarazione che l'utente deve determinare il PL richiesto per la sua applicazione, e
7) un avviso che la macchina non deve essere riavviata in caso di pericolo.
[...]
4.2 Scelta del bordo sensibile alla pressione o della barra sensibile alla pressione adatto
4.2.1 Generale
I quattro fattori più importanti che influenzano la selezione di un dispositivo utilizzabile in questa applicazione sono:
a) Categoria e livello di prestazione secondo la ISO 13849-1 richiesti per l'applicazione
Questi dati sono basati su:
- la valutazione del rischio per l’applicazione più i requisiti di cui al punto 2.20, oppure
- i requisiti di una pertinente norma di tipo C.
b) Velocità di pericolo
Questa è la velocità con cui si muove la superficie pericolosa. Normalmente, una superficie si muove mentre l'altra è ferma. La velocità massima possibile dovrebbe essere considerata come velocità di pericolo. Se entrambe le superfici sono in movimento, è necessaria una particolare attenzione.
[...] segue in allegato
Fonti
EN ISO 13856-2:2013
Direttiva 2006/42/CE Macchine
Certifico Srl - IT | Rev. 0.0 2021
©Copia autorizzata Abbonati
Matrice Revisioni:
| Rev. | Data | Oggetto | Autore |
| 0.0 | 13.12.2021 | -- | Certifico Srl |
Collegati
Valutazione dei rischi EN ISO 12100: Esempio operativo
Funi di sicurezza: norme e note applicative
EN ISO 13856-1:2013 | Tappeti e pedane sensibili alla pressione
EN ISO 13856-3:2013 | Paraurti, piastre, fili sensibili alla pressione
UNI EN ISO 13856-1:2013
UNI EN ISO 13856-2:2013
UNI EN ISO 13856-3:2013
EN ISO 13850 Arresto di emergenza
EN ISO 13855 Posizionamento dei mezzi di protezione
| Descrizione | Livello | Dimensione | Downloads | |
|---|---|---|---|---|
| EN ISO 13856-2 2013 Bordi e barre sensibili alla pressione Rev. 0.0 2021.pdf Certifico Srl - Rev. 0.0 2021 |
798 kB | 305 |
Tags: Normazione Norme Direttiva macchine Abbonati Normazione



















